关于兴千田
兴千田致力于客户终身价值实现,针对企业不同成长阶段管理需求,从研发、应用、人才、服务等多重维度提供一站式服务支撑。
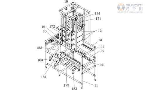
迄今为止,兴千田已荣获专利证书二十多项,而且随着兴千田技术团队不断研发,获得的专利证书也越来越多,这是兴千田在LCIA低成本自动化技术的有一大进展,感谢新老客户对兴千田的支持!

实用新型名称:自动物料补给货架
发明人:王印
专利号:ZL 2018 2 0915786.3
专利权人:2025澳网门票官方网站
授权公告日:2019年04月30日
授权公告号:CN 208802414 U

精益是东方的思维方式,讲究从宏观的角度出发,整体实施来解决问题,是一种类比法。
详细了解
MES的定位,是处于计划层和现场自动化系统之间的执行层,主要负责车间生产管理和调度执行。
详细了解
生产管理的专家团队直接深入到工厂,调查分析,为提高生产效率提出合理的建议。
详细了解
从精益的视角对企业的人力资源实现精细化和准确化管理,最大限度地减少人力资源浪费!
详细了解